关于我们纳客会员管理软件系统首页 > 更新日志 >
发布时间:2020-07-04 来源:纳客伟德BV客户端 查看次数: 作者:admin
一、新版1946伟德始于英国 - 会员成长
微信会员卡【会员成长】功能上新啦!!!
会员点击【会员卡】进入会员中心,在【会员成长】点击【去邀请】即可进入分享界面。点击立即分享给好友或面对面扫码分享二维码,完成注册后邀请人会获得相应的邀请奖励。


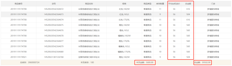
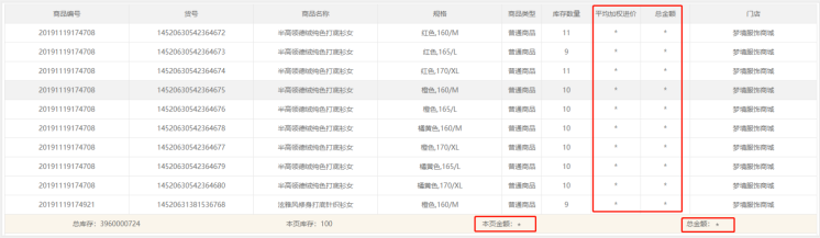
二、PC端【库存管理】新增‘查看进货价’权限
开启权限时,是可以在库存列表中查看的到进货价、总金额等信息的。

关闭权限时,进货价、总金额等信息则屏蔽处理。

体验优化
本周主要对以下内容进行优化:
【场馆收银端】收银结账界面显示优化
【场馆收银端】优化套餐名称过长显示
【场馆收银端】商品详情界面,按钮文字显示优化;场馆名称显示优化;整体界面显示优化
【场馆收银端】限时收费设置,预收款、可用时间输入增加控制
【安卓收银端】快速消费、获得积分、应付金额计算方式优化
【安卓收银端】线上订单,操作退款后提示及页面处理完善优化
【PC后台】场馆管理 - 高级设置,场地提醒功能优化完善
【PC后台】编辑套餐区域场地操作优化
【PC后台】统计类数据近7天查询,日期设置优化
【PC后台】小程序装修界面数据及显示样式优化
【PC后台】场地管理,高级设置优化成支持每个店可以用自己的设置
【前台收银】取单本单积分计算优化;线上订单退款操作提示及页面处理完善优化
【前台收银】线上订单,订单详情提货时间显示优化
【新版微信端】会员中心,邀请好友栏,按钮展示位置优化
【新版微信端】自助加油,手机适配显示调整优化
【新版微信端】会员推荐分享,奖励展示和后台设置匹配问题优化
【街边易购】拼团时,点击分享链接,拼团页面处理优化
【三联单】三联单实付金额调整,减掉抹零
Bug修复
【场馆收银端】修复切换场地后台会报错,界面也无法使用的bug
【场馆收银端】修复优惠活动指定门店判断有误的bug
【场馆收银端】修复收银金额,本单积分的小数位没有根据系统设置正确显示的bug
【场馆收银端】修复场馆开台,提醒功能实现有误的bug
【场馆收银端】修复场馆消费,切换选择优惠活动,本单积分计算有误的bug
【场馆收银端】修复场馆消费商品提成员工无法选择的bug
【场馆收银端】修复优惠活动验证和界面操作不符的bug
【场馆收银端】修复整单优惠实现有误,未能按实际输入优惠的bug
【PC后台】修复商城订单 - 快递代发货订单,发货快递公司数据有误的bug
【PC场馆】修复场地管理,编辑场馆弹出层控制有误的bug
【PC场馆】修复新增或编辑套餐,操作区域选择,场地数据显示有误的bug
【安卓收银端】修复单据管理,充值单据撤单界面,超级密码控制有误的bug
【安卓收银端】修复商品消费,选择优惠活动后,获得积分计算有误的bug
【新版微信端】修复会员中心,余额记录缺少图标的bug
【新版微信端】修复支付微信公众号-自助加油,无法调起微信支付的bug
【新版微信端】修复支付微信公众号-自助加油,余额+微信联合支付无法下单的bug
【街边易购】修复同一个开团活动,存在一个会员参与多次操作的bug
【商城订单】退款申请,修复存在查看订单详情有误的bug
作者:伟德app苹果版二维码下载小编
来源:网络,由伟德app苹果版二维码下载小编整理、编辑、发布。